Baubericht 2016: Orion Edge 65

Unterforum :O->: Gemeinschaftsprojekt Volksknickspanter

Moderator: Uwe

Re: Baubericht 2016: Orion Edge 65

Beitrag: #31Beitragvon Jan Sailor » 28.10.2016, 20:09


Hallo,

wo kann ich im Inernet kleine Microblöcke für die Schotführung bestellen? Was ist das für ein Röhrchen für die Durchführung der Schot auf Deck?
Jan Sailor
Fortgeschrittener
Fortgeschrittener
 
Beiträge: 17
Registriert: 03.10.2016, 12:05
Titel: RG65

Re: Baubericht 2016: Orion Edge 65

Beitrag: #32Beitragvon Reto » 28.10.2016, 20:38


Hi Jan
das ist ein einfaches Carbon Rohr in das ich oben und unten eine kleine Öse eingeklebt habe. Dazu verwende ich die Messingteile welche bei den Servos als Montagehilfe beigelegt werden.
Rollen baue ich keine mehr ein, meiner Meinung nach bringt das wenig, kostet aber viel. Um allzu spitze Winkel in der Umlenkung der Grossschot zu verhindern habe ich am Rumpfboden neben dem Kielkasten aus den Angelbedarf einen Ring (siehe Bild) eigeklebt. Wenn du mehr bilder möchtetst kann ich morgen noch solche einstellen.
Ring.jpg
Ring.jpg (6.36 KiB) 12225-mal betrachtet
Reto Brunschweiler, SUI-99
RG-65 Orion, Manta, Hashtag, JethRace, Ranger, TripleCrown, Seabug, DragonForce 65
IOM Arrow
Benutzeravatar
Reto
Alter Hase
Alter Hase
 
Beiträge: 311
Registriert: 21.10.2011, 20:00
Wohnort: 8500 Frauenfeld, Schweiz

Re: Baubericht 2016: Orion Edge 65

Beitrag: #33Beitragvon Jan Sailor » 29.10.2016, 08:37


Hast du ne Skizze wie die Schot verläuft?
Jan Sailor
Fortgeschrittener
Fortgeschrittener
 
Beiträge: 17
Registriert: 03.10.2016, 12:05
Titel: RG65

Re: Baubericht 2016: Orion Edge 65

Beitrag: #34Beitragvon GER 2 » 30.10.2016, 09:28


Hallo Jan,
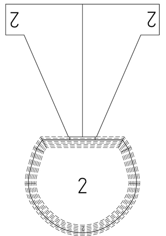
es gibt viele Varianten wie man die Schotführung realisieren kann.
Hier mal eine Zeichnung wie es sich bei mir seit vielen Jahren im Regattaeinsatz bewährt hat.
Die Devise dabei ist möglichst simpel, dann ist es auch am wenigsten anfällig gegen Fehler. Ausserdem möglichst wenig Umlenkungen damit die Schot auch bei wenig Wind gut rausläuft und das Segel sich öffnet.
Ganz wichtig ist auch das der Servohebel bei voll geöffnetem Segel genau steht wie auf der Zeichnung, das verhindert Getriebeschäden am Servo.
Schotführung.pdf
(21.31 KiB) 791-mal heruntergeladen


Blöcke verwende ich schon lange nicht mehr, die bergen nur die Gefahr das sich die Schot verklemmt, nötig sind sie nicht. Der Servohebel sollte ein Loch mit runden Kanten haben um die Schot zu schonen, das reicht vollkommen aus.
Eine Möglichkeit ist den Hebel kurz in Stabilit Express zu tauchen und dann bis zum aushärten zu drehen. Sieht dann ungefähr so aus, nicht hübsch aber funktional.
Servohebel.jpg


Führ die Schotführung kann man das auch so machen, die Messinghülsen wie Reto sie verwendet sind auch eine gute Lösung.

Gruß Roland
Benutzeravatar
GER 2
Alter Hase
Alter Hase
 
Beiträge: 255
Registriert: 30.09.2016, 05:34
Titel: www.radiosailing.de

Re: Baubericht 2016: Orion Edge 65

Beitrag: #35Beitragvon Jan Sailor » 05.11.2016, 17:46


Moin, wie stark ist das Sperrholz vom Deck? 2mm?
Jan Sailor
Fortgeschrittener
Fortgeschrittener
 
Beiträge: 17
Registriert: 03.10.2016, 12:05
Titel: RG65

Re: Baubericht 2016: Orion Edge 65

Beitrag: #36Beitragvon GER 2 » 05.11.2016, 19:26


2mm Sperrholz ist sicher zu stark und schwer. Da reichen 0.5 mm, maximal 1 mm.
Das Schiff wird dann etwas flacher, die Spanten sind ja für 2mm Balsa gezeichnet. Der eine Millimeter macht aber nix...


Gruß Roland

P.S.: Zeichne gerade eine neue Planversion mit den Markierungen für die Planken und mehr Materialvarianten.
spant.jpg
Benutzeravatar
GER 2
Alter Hase
Alter Hase
 
Beiträge: 255
Registriert: 30.09.2016, 05:34
Titel: www.radiosailing.de

Re: Baubericht 2016: Orion Edge 65

Beitrag: #37Beitragvon Uwe » 05.11.2016, 19:55


Ja, das kann ich unterstreichen: 2 mm viel zu stark. Ich kann mir ein 0,8 mm Flugzeugsperrholz als Kompromiss zwischen Festigkeit und Gewicht sehr gut vorstellen.

Gruß Uwe
Und was bleibt von dir?
Werde unsterblich: baue ein Boot!
Benutzeravatar
Uwe
Administrator
Administrator
 
Beiträge: 1254
Registriert: 27.09.2011, 18:32
Wohnort: Barsbüttel bei Hamburg

Re: Baubericht 2016: Orion Edge 65

Beitrag: #38Beitragvon Karl » 07.11.2016, 19:58


Hallo Roland,
die Spanten habe ich bereits aufgestellt und gestrakt. Mit dem Anbringen der ersten Planke (Balsa 2 mm weich) habe ich gezögert. Am Knick zwischen den Planken 1 und 2 im Bereich Spant 7 -9 bin ich etwas skeptisch. Ich habe schon erwogen die Planke in mehrere Einzelplanken aufzuteilen (Etwas mehr Arbeit, aber mehr Sicherheit für die Treue zur geplanten Form). Deshalb freue ich mich über deine Ankündigung

GER 2 hat geschrieben:P.S.: Zeichne gerade eine neue Planversion mit den Markierungen für die Planken und mehr Materialvarianten.


und warte erst mal die Planaktualisierung ab.

Gruß Karl
Karl
Stammbesatzung
Stammbesatzung
 
Beiträge: 20
Registriert: 16.09.2015, 16:53
Titel: Einsteiger
Segelnummer: GER 217

Re: Baubericht 2016: Orion Edge 65

Beitrag: #39Beitragvon GER 2 » 07.11.2016, 23:17


Hi Karl,
besonders wichtig ist die Treue zum Entwurf in dem Bereich nicht, der ist ja nur beim Tauchen im Wasser, da kann man ruhig mit Schleifpapier ein wenig eigenes Design einbringen :)

Der neue Plan und eine aktualisierte Anleitung steht zum Download bereit, falls ihr Fehler findet bitte ich um eine kurze Nachricht, war viel PC Arbeit in den letzen Tagen, da wird man manchmal etwas Betriesblind..

Gruß Roland
Benutzeravatar
GER 2
Alter Hase
Alter Hase
 
Beiträge: 255
Registriert: 30.09.2016, 05:34
Titel: www.radiosailing.de

Re: Baubericht 2016: Orion Edge 65

Beitrag: #40Beitragvon optimist » 11.11.2016, 11:56


Auch hier entsteht eine Orion Edge. Die Spanten sind aus Sperrholz 4mm gefertigt und der Kern ist ausgesägt, was die Arbeit beim Beplanken und beim Ausbau derer sehr erleichtert (wurde an anderer Stelle bereits erwähnt)

01ae7f59aa58d76f2dd4f80fa136d7e33f4e5b5c3f.jpg


Das Unterschiff ist mit 7x2mm Planken ausgeführt.

017803a38be13444a0e4f2e823d710638d2293a0eb.jpg


Eine besondere Herausforderung ist der Übergang von Planke 1 zu Planke 2. Zur Anbringung der Planke 1 habe ich die Schale von der Helling genommen, die Montage von Oben her ist viel einfacher.


Bug und Heck müssen noch angepasst werden und nachher beginnt das Schleifen.

01eaba23b78dfe03b93a9adab5a89de7fdd2d84b9e.jpg

01eaa67f42bec632b7bcf78e5eb5a5f442c80334df.jpg
Gruss aus der Innerschweiz
Richard
SUI 49 Ranger, NeKst-Round, Goth, 2.4Ghz
Benutzeravatar
optimist
Stammbesatzung
Stammbesatzung
 
Beiträge: 79
Registriert: 29.10.2011, 08:39
Wohnort: Luzern
Titel: Seniorensegler
Segelnummer: SUI 49
VorherigeNächste

Zurück zu Pläne, Boote und Projekte